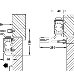
Thiết Bị Đóng Cửa Tự Động DCL15 Hafele 931.84.689
Tính Năng :
– Tay đẩy hơi dành cho cửa đi
– Kiểm định theo tiêu chuẩn EN 1154
– Có thể điều chỉnh lực đóng tùy theo vị trí lắp đặt
– Có thể điều chỉnh tốc độ chốt
– Có thể điều chỉnh tốc độ đóng
– Có thể chọn chức năng phản lực
– Phù hợp cho cửa mở trái và phải
– Lực đẩy EN4
– Chiều rộng cửa : 750 – 1.100mm
– Trọng lượng cửa tối đa : 80Kg
– Góc mở tối đa : 180º
– Không có chức năng giữ cửa
– Vật liệu : hợp kim nhôm
– Hoàn thiện : màu bạc
– Đóng gói : 1 bộ

RON KÍNH NAM CHÂM 10-12/2500,G-G,135 ĐỘ 950.50.029
TAY NẮM PHÒNG TẮM INOX BÓNG D25XCC550 903.12.365
Chậu Inox Hafele HS20-SSN2R90M
Chậu Inox Hafele HS21-SSD2S90L
TAY NẮM PHÒNG TẮM INOX BÓNG D25XCC500 903.12.363








