Thiết Bị Đóng Cửa Tự Động DCL15 Không Có Chức Năng Giữ Cửa Hafele 931.84.629
Tính Năng :
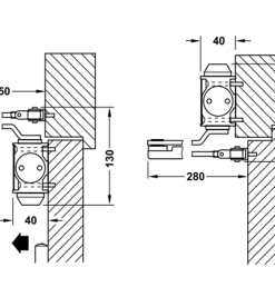
– Tay đẩy hơi, cùi chỏ DCL15 cho cửa, lắp đặt nổi
– Kiểm định theo tiêu chuẩn EN 1154
– Đạt chứng chỉ CE
– Có thể điều chỉnh lực đóng tùy theo vị trí lắp đặt
– Có thể điều chỉnh tốc độ chốt
– Có thể điều chỉnh tốc độ đóng
– Có thể chọn chức năng phản lực
– Phù hợp cho cửa mở trái và phải
Thông Số Kỹ Thuật :
– Lực đẩy EN2 – EN4
– Chiều rộng cửa : 750 – 1.100mm
– Trọng lượng cửa tối đa : 80Kg
– Góc mở tối đa : 180º
– Phiên bản : không có chức năng giữ cửa ( phù hợp với phòng điều hòa hoặc ra vào thường xuyên )
– Vật liệu : hợp kim nhôm
– Màu hoàn thiện : màu Bạc
– Đóng gói : 1 bộ

Tay nắm phòng tắm CC550mm đen 903.11.564








